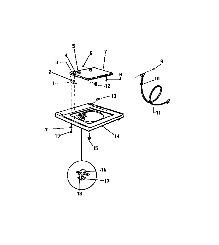
LA271JXW3 03 – TOP PANELadmin2025-04-26T11:05:39+00:00LA271JXW3 03 – TOP PANEL ProductsPositionProduct2HINGE (2 REQ.)3SCREW (2)6WCI Q5015897WCI Q1276258WCI Q1343510WCI Q6313711CORD, SERVICE12WCI Q14317213WCI Q50306514PNL. TOP - WHTE15SPRING CATCH16WCI Q16534617SHIELD, LID LOCK18SCREW (4)19NUT (2)20SPACER