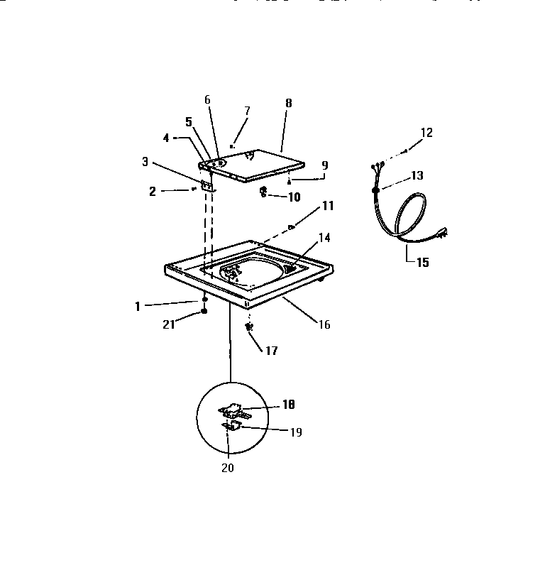
LA400JXF3 03 – TOP PANELadmin2025-04-26T09:15:51+00:00LA400JXF3 03 – TOP PANEL ProductsPositionProduct3HINGE (2 REQ.)4SCREW (2)5SPACER7WCI Q5015898LID, COFE9WCI Q1343510WCI Q14317211WCI Q50306513WCI Q6313714DISPENSER15CORD, SERVICE16PNL. TOP - COFE17SPRING CATCH18WCI Q16534619SHIELD, LID LOCK20SCREW (4)21NUT (2)