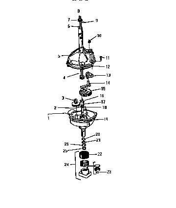
LA400JXF3 07 – TRANSMISSIONadmin2025-04-26T09:16:32+00:00LA400JXF3 07 – TRANSMISSION ProductsPositionProduct1OIL, TRANSMISSION, 1 QUART2WCI F0770520003WCI F1304031004WCI F1404820005HOUSING, UPPER6WCI F06256800075303161307 Frigidaire Dryer Seal Assembly8WCI Q63103210WCI F07706100011WCI F07968800012WCI F13089500013WCI F13040510014WCI F06607810015WCI F13040410016SHAFT, LOWER18WCI F07705800019HOUSING, LOWER205303161173 Frigidaire Seal Assembly21WASHER, THRUST22WCI F13041700023WCI F14126100024WCI F13701400025WCI F06815800026WCI F077098000