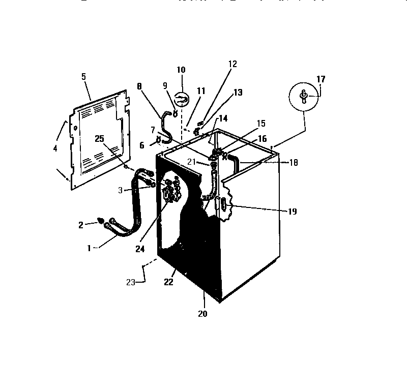
LA450JXF3 04 – CABINET, HOSESadmin2025-04-26T09:16:00+00:00LA450JXF3 04 – CABINET, HOSES ProductsPositionProduct1WCI Q6009212WCI Q198013WCI Q4125014SCREW (4)5WCI Q1713127CLAMP, OUTER HOSE8WCI Q1561739WCI C50335610WCI Q50117112WCI Q1747113WCI Q1746115WCI Q60440116WCI Q50489217WCI Q15243118WCI Q15831419WCI Q14941320BODY, COFE21SLEEVE, HOSE22WCI Q16534723SCREW (6)24WCI Q17144725WCI Q505564