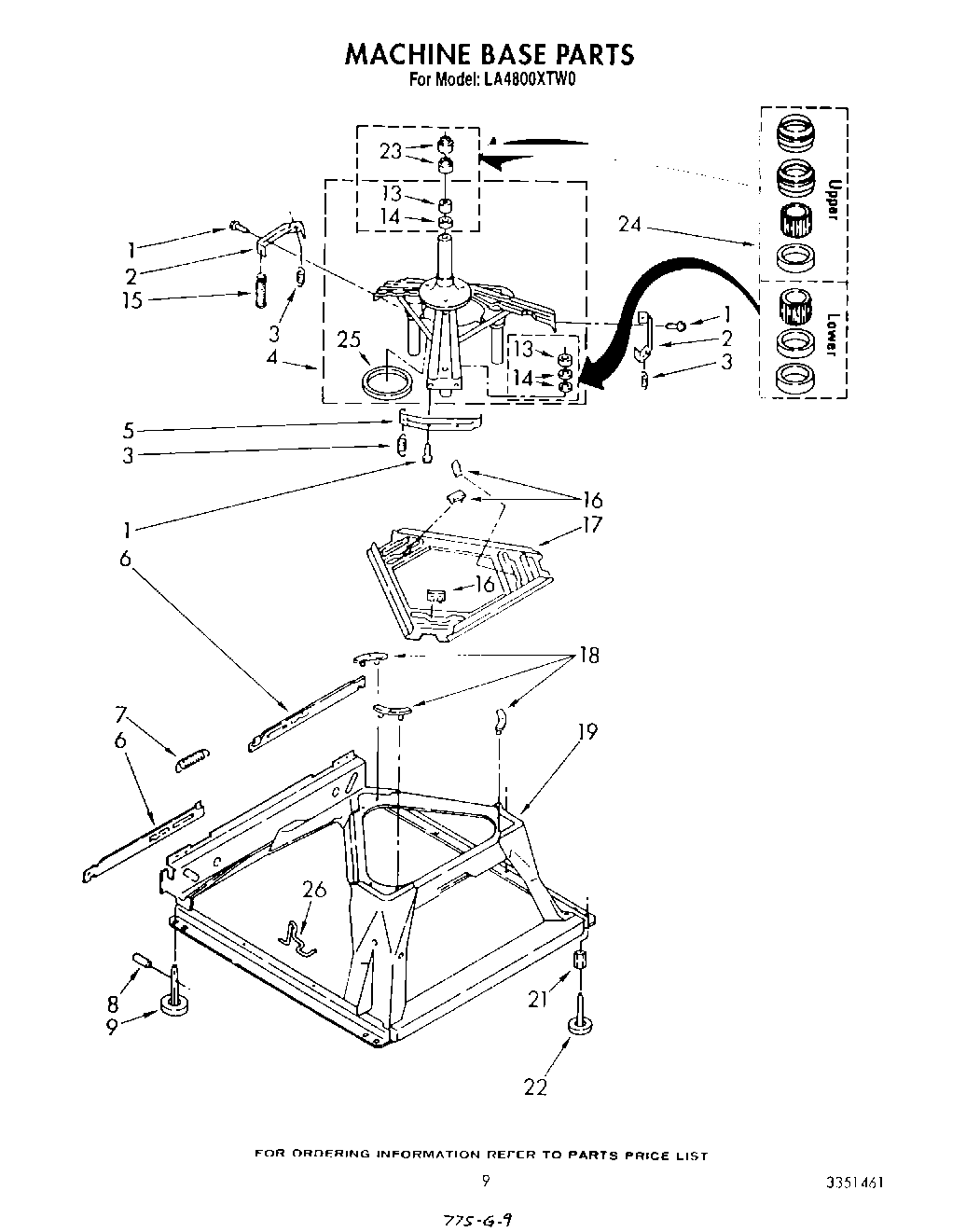
LA4800XTN0 07 – MACHINE BASE