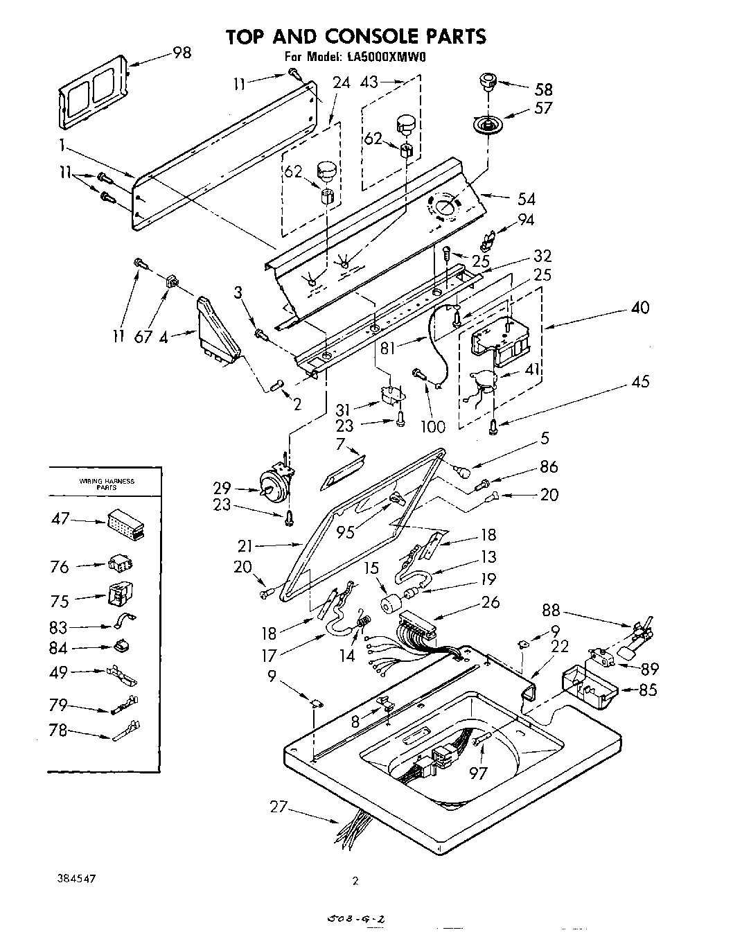
LA5000XMW0 02 – TOP AND CONSOLE