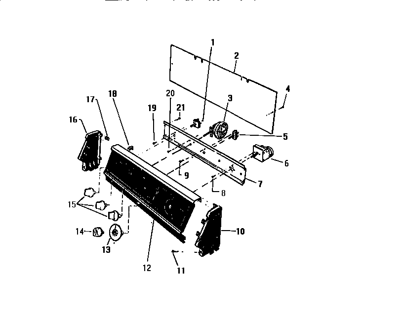
LA500EXD3 02 – CONSOLE & CONTROLSadmin2025-04-26T09:15:52+00:00LA500EXD3 02 – CONSOLE & CONTROLS ProductsPositionProduct1SWITCH, TEMPERATURE2WCI Q6167413WCI Q6189214WCI Q4058026WCI Q6325717WCI Q6167118SCREW (4)10WCI Q61673211WCI Q50453312WCI Q61690113WCI Q62122114WCI Q62121215KNOB TIMER16WCI Q61673117SPEEDNUT (8)18WCI Q50480119SCREW (2)21SCREW (4)