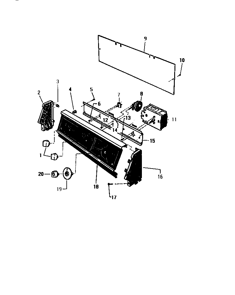
LA500JXH3 02 – CONSOLE & CONTROLSadmin2025-04-26T09:15:29+00:00LA500JXH3 02 – CONSOLE & CONTROLS ProductsPositionProduct1KNOB, SWITCH, SELECTOR2WCI Q6167313SPEEDNUT (8)4WCI Q5048036SCREW (2)7SWITCH, TEMPERATURE8WCI Q6337329WCI Q61674110WCI Q40580211WCI Q63454112SCREW (4)13WCI Q50303314WCI Q50092515WCI Q61671116WCI Q61673217WCI Q50453318WCI Q63415119WCI Q62122220WCI Q621212