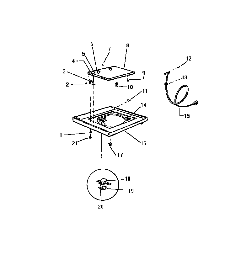
LA500JXV3 03 – TOP PANELadmin2025-04-26T09:15:37+00:00LA500JXV3 03 – TOP PANEL ProductsPositionProduct3HINGE (2 REQ.)4SCREW (2)5SPACER7WCI Q5015898LID, FR AV9WCI Q1343510WCI Q14317211WCI Q50306513WCI Q6313714DISPENSER15CORD, SERVICE16PNL. TOP - FR. AV.17SPRING CATCH18WCI Q16534619SHIELD, LID LOCK20SCREW (4)21NUT (2)