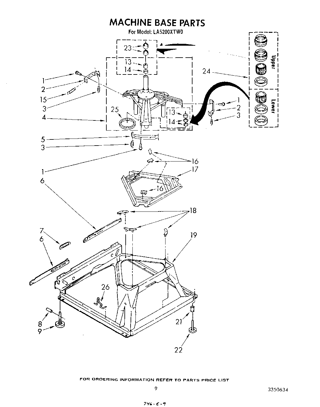
LA5200XTW0 07 – MACHINE BASE