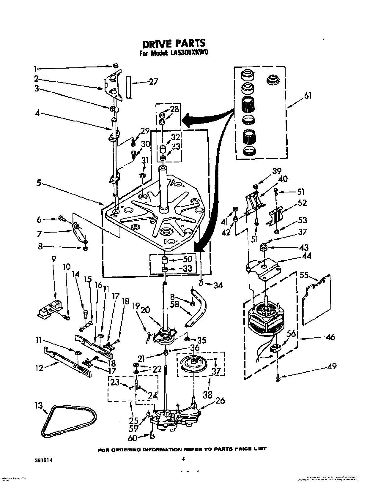
LA5300XKW0 04 – DRIVE