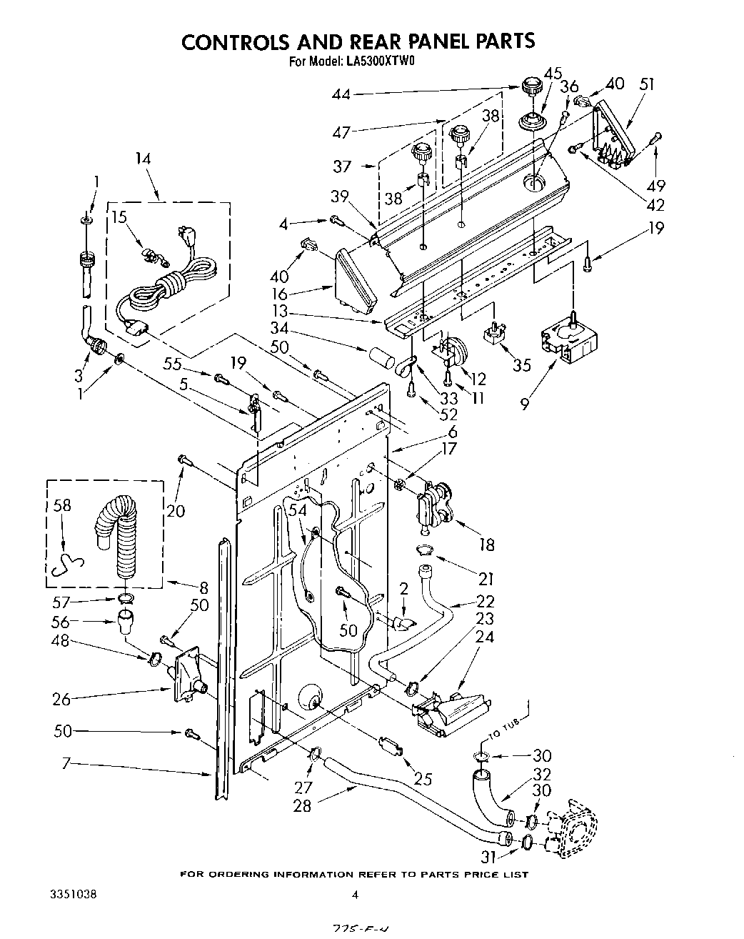
LA5300XTW0 03 – CONTROLS AND REAR PANEL