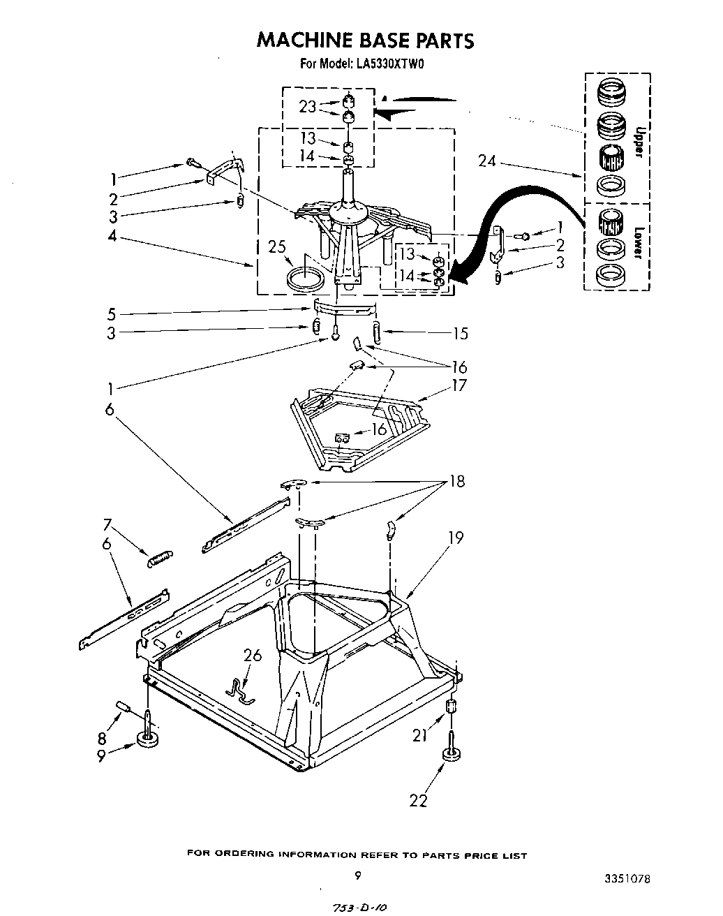
LA5330XTN0 07 – MACHINE BASE