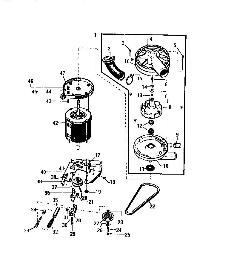
LA550EXD1 06 – MOTOR, PUMP ASSEMBLYadmin2025-04-26T09:16:07+00:00LA550EXD1 06 – MOTOR, PUMP ASSEMBLY ProductsPositionProduct1WCI Q1981632WCI Q1821813SCREW (7)4WCI Q6126315SCREW, TO MOTOR6WCI Q5042047WCI Q695618IMPELLER (INCLUDED IN IMPELLER KIT Q198163)9WCI Q1670110WCI Q61264111WCI Q6954312SEAL, KIT (INCLUDED IN IMPELLER KIT Q198163)13O-RING (INCLUDED IN IMPELLER KIT Q198163)14WCI Q50037415WCI Q50115416GASKET (INCLUDED IN IMPELLER KIT Q198163)17WCI Q44002518WCI Q50083119NUT20PIN21WCI Q50108422WCI Q18162523WCI Q114760124WCI Q12748425WCI 146717326WCI Q40900427WCI Q14308128WCI Q1672129WCI Q12748530WCI Q50003631WCI Q50108332WCI Q6987833WCI Q60006534WCI Q18118135WCI Q1664136WCI Q60006637WCI Q14352338WCI Q60006439WCI Q50128340WCI Q14638241WCI Q12775342MOTOR, MAIN43WCI Q50278844SPACER (1)45SPACER (4)46WCI Q16426147WCI Q502404