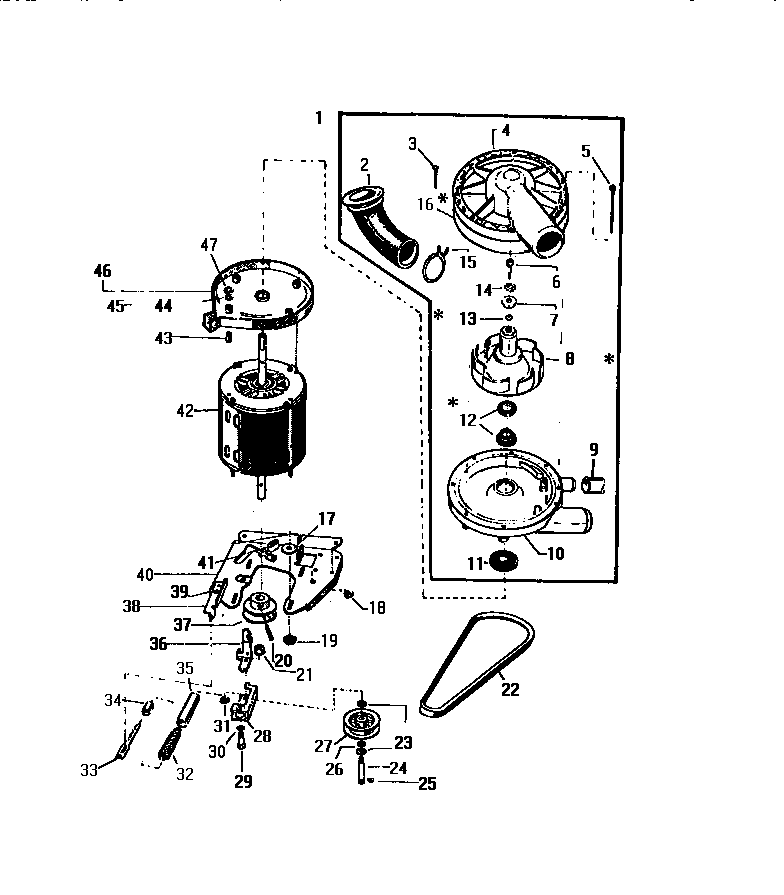
LA550EXF2 06 – MOTOR, PUMP ASSEMBLY