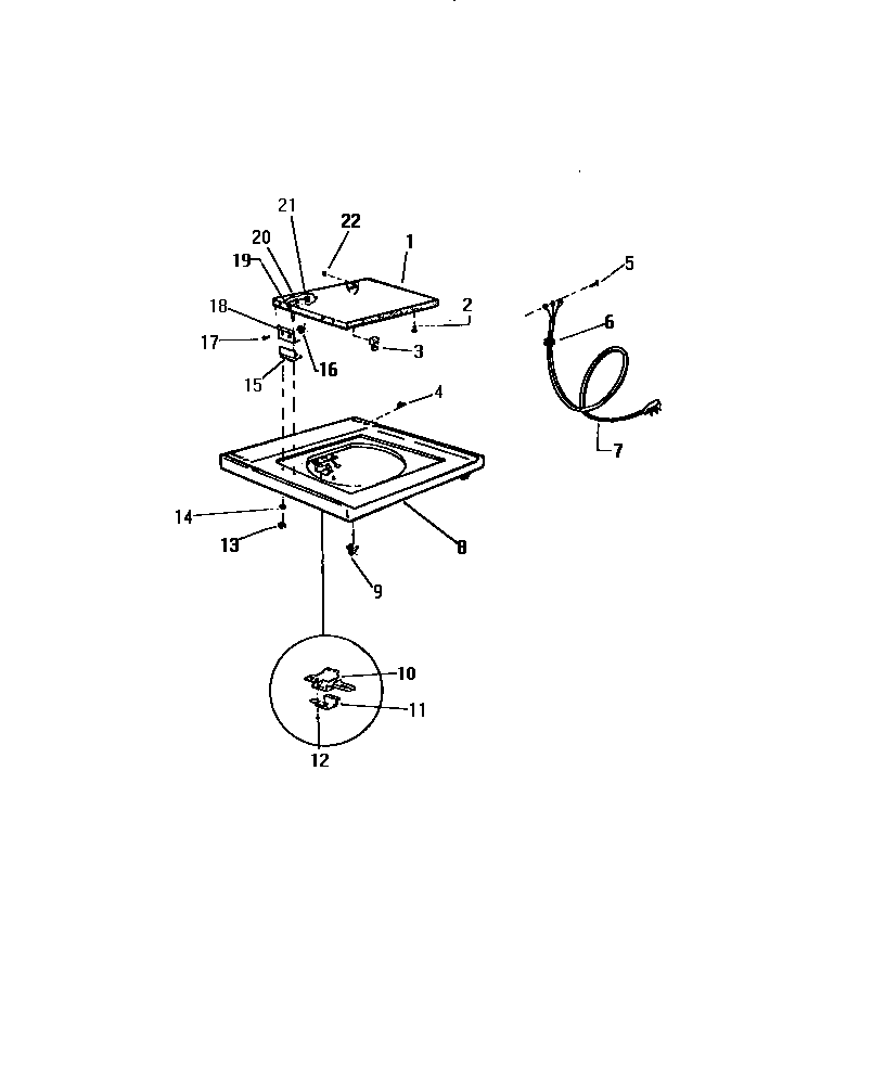
LA550EXV2 03 – TOP PANELadmin2025-04-26T09:13:53+00:00LA550EXV2 03 – TOP PANEL ProductsPositionProduct1LID, FR AV2WCI Q134353WCI Q1431724WCI Q5030656WCI Q631377CORD, SERVICE8PNL. TOP - FR. AV.9SPRING CATCH10WCI Q16534611SHIELD, LID LOCK12SCREW (4)15WCI Q9373916WCI Q40930918HINGE (2 REQ.)19SCREW (2)20SPACER21NUT (2)22WCI Q501589