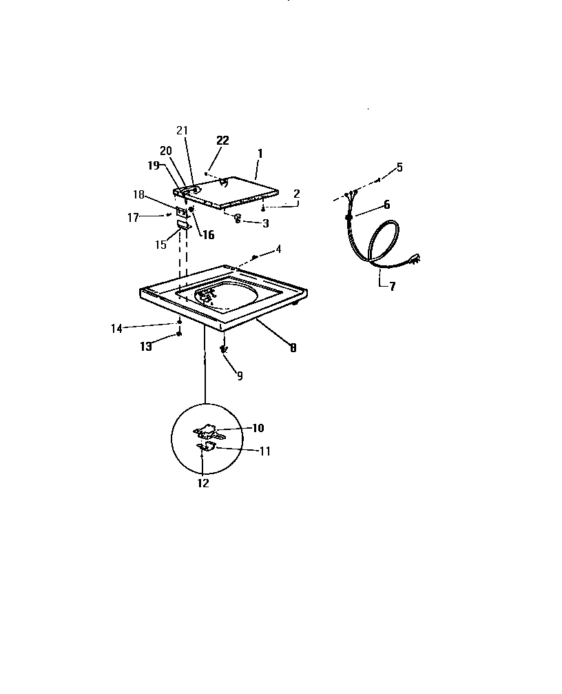
LA550EXW2 03 – TOP PANEL