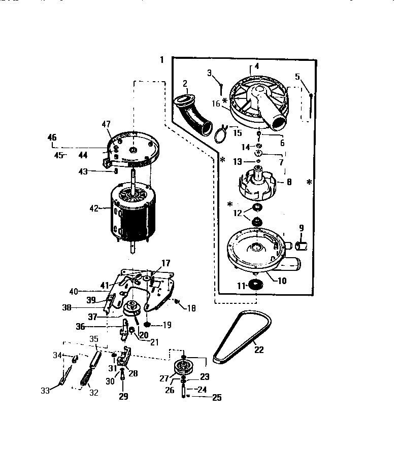
LA550EXW2 06 – MOTOR, PUMP ASSEMBLY