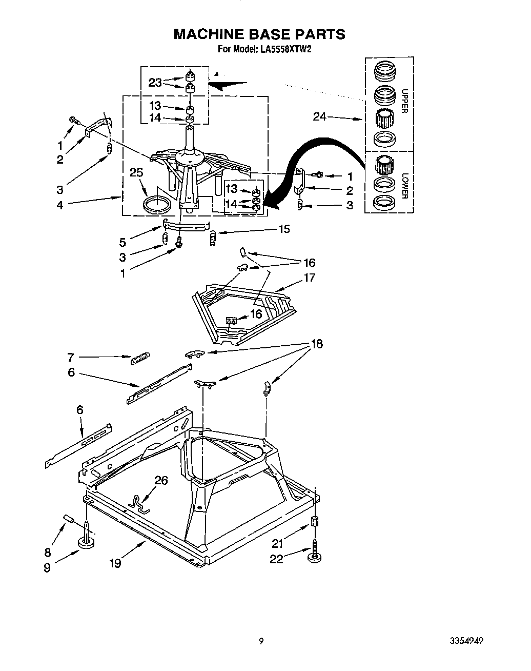
LA5558XTG2 08 – MACHINE BASE