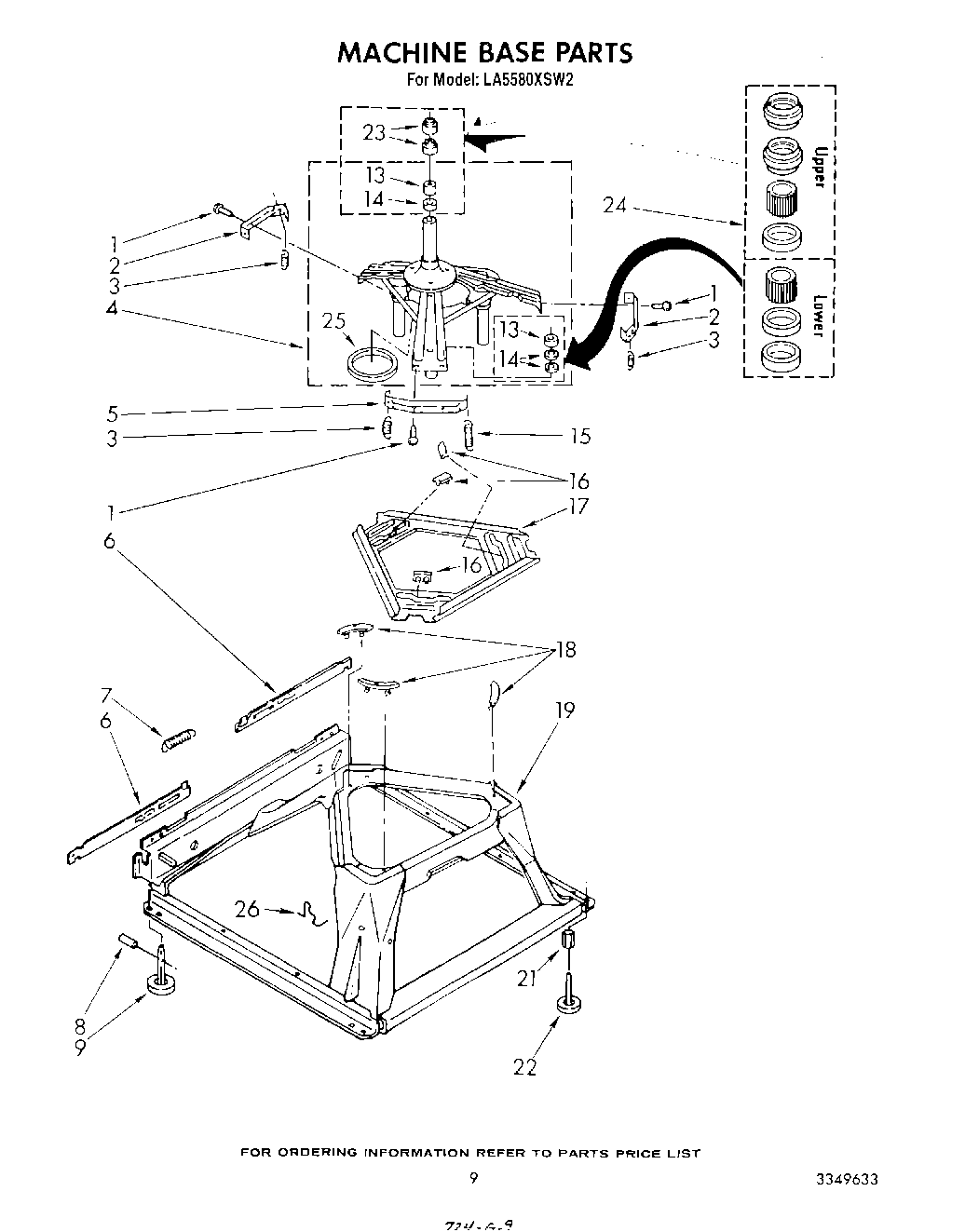
LA5580XSW2 07 – MACHINE BASE