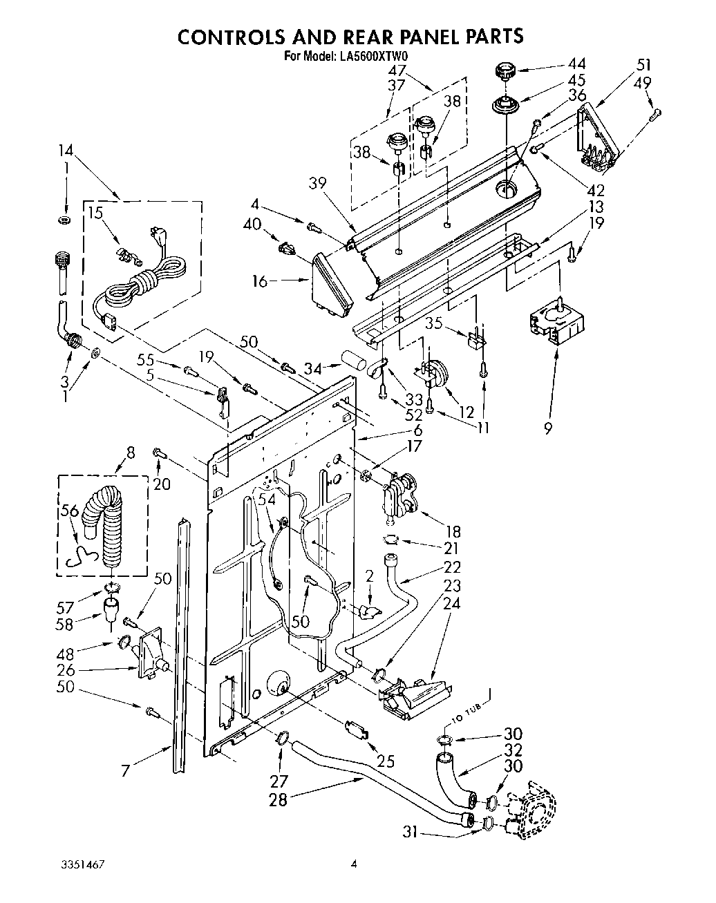
LA5600XTF0 03 – CONTROLS AND REAR PANEL