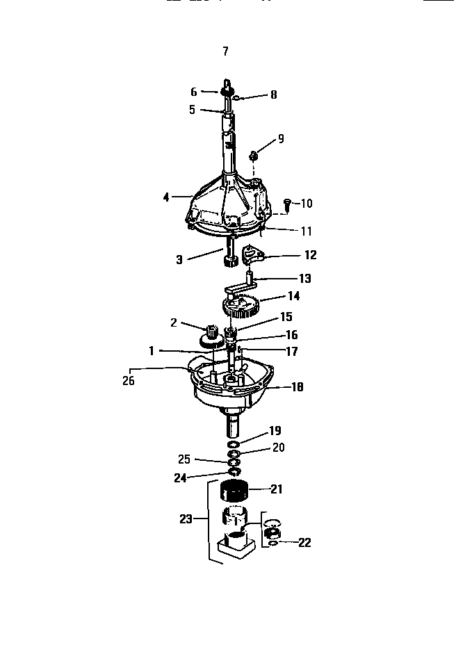
LA560JXW3 07 – TRANSMISSIONadmin2025-04-26T09:16:49+00:00LA560JXW3 07 – TRANSMISSION ProductsPositionProduct1WCI F0770520002WCI F1304031003WCI F1404820004HOUSING, UPPER5WCI F06256800065303161307 Frigidaire Dryer Seal Assembly7WCI Q6310329WCI F07706100010WCI F07968800011WCI F13089500012WCI F13040510013WCI F06607810014WCI F13040410015SHAFT, LOWER17WCI F07705800018HOUSING, LOWER195303161173 Frigidaire Seal Assembly20WASHER, THRUST21WCI F13041700022WCI F14126100023WCI F13701400024WCI F06815800025WCI F07709800026OIL, TRANSMISSION, 1 QUART