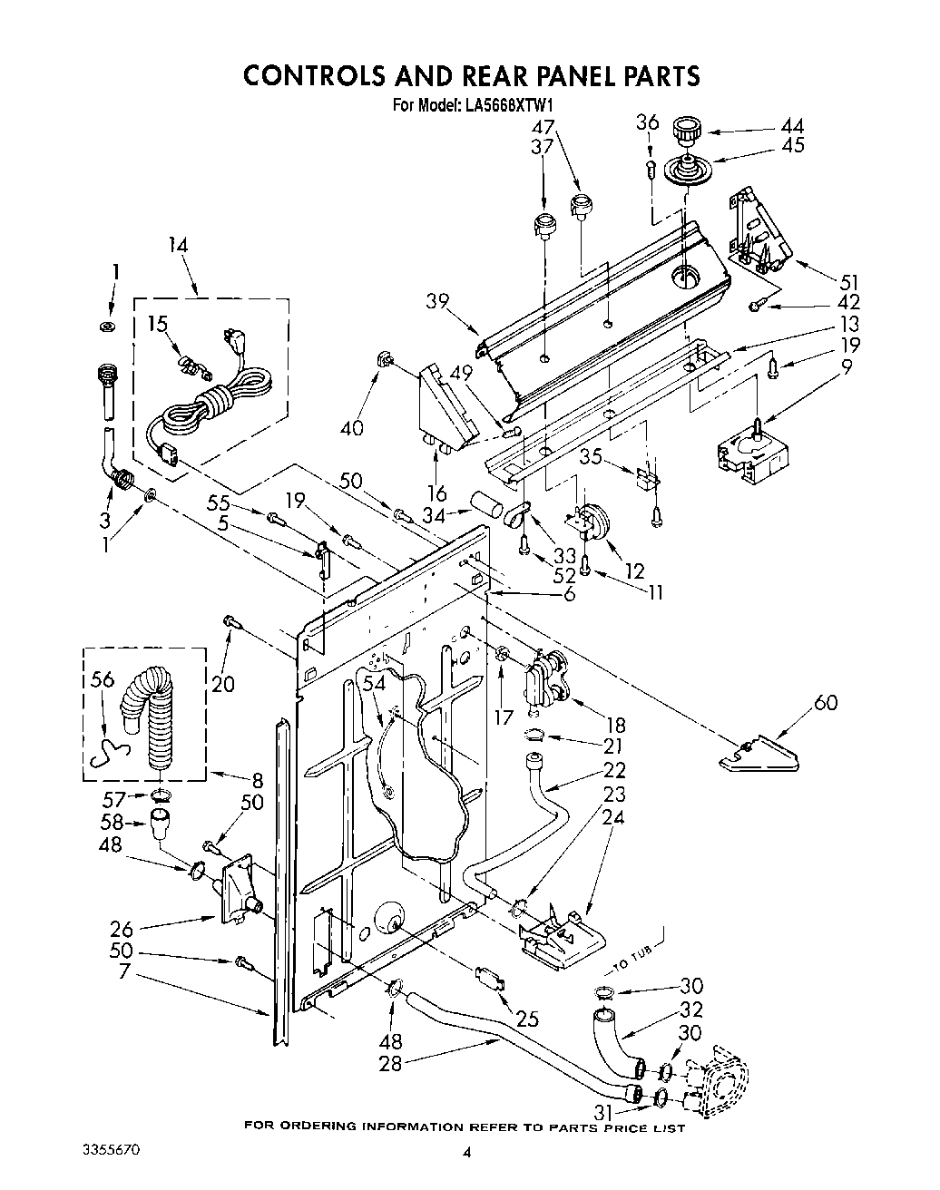
LA5668XTM1 03 – CONTROLS AND REAR PANEL