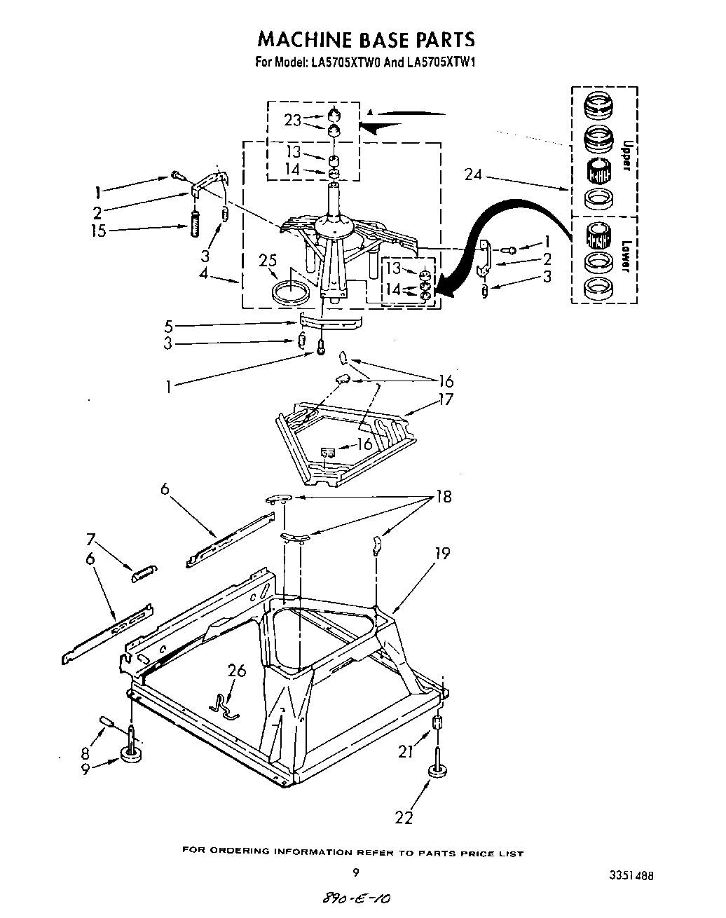
LA5705XTF0 07 – MACHINE BASE