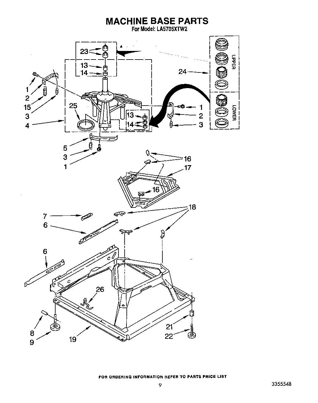
LA5705XTF2 08 – MACHINE BASE