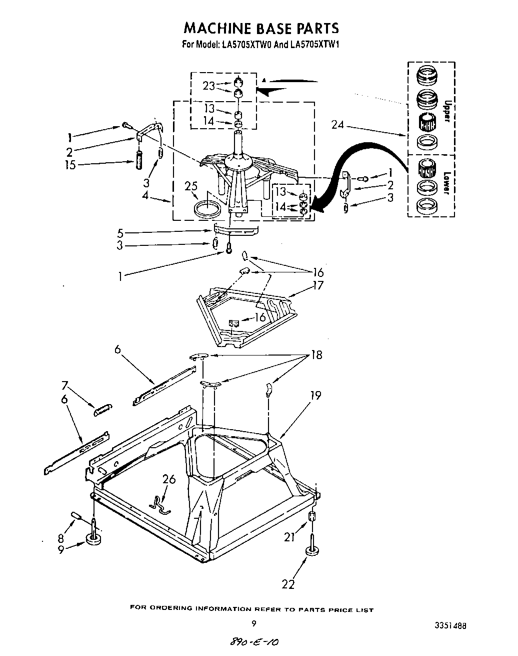
LA5705XTM0 07 – MACHINE BASE