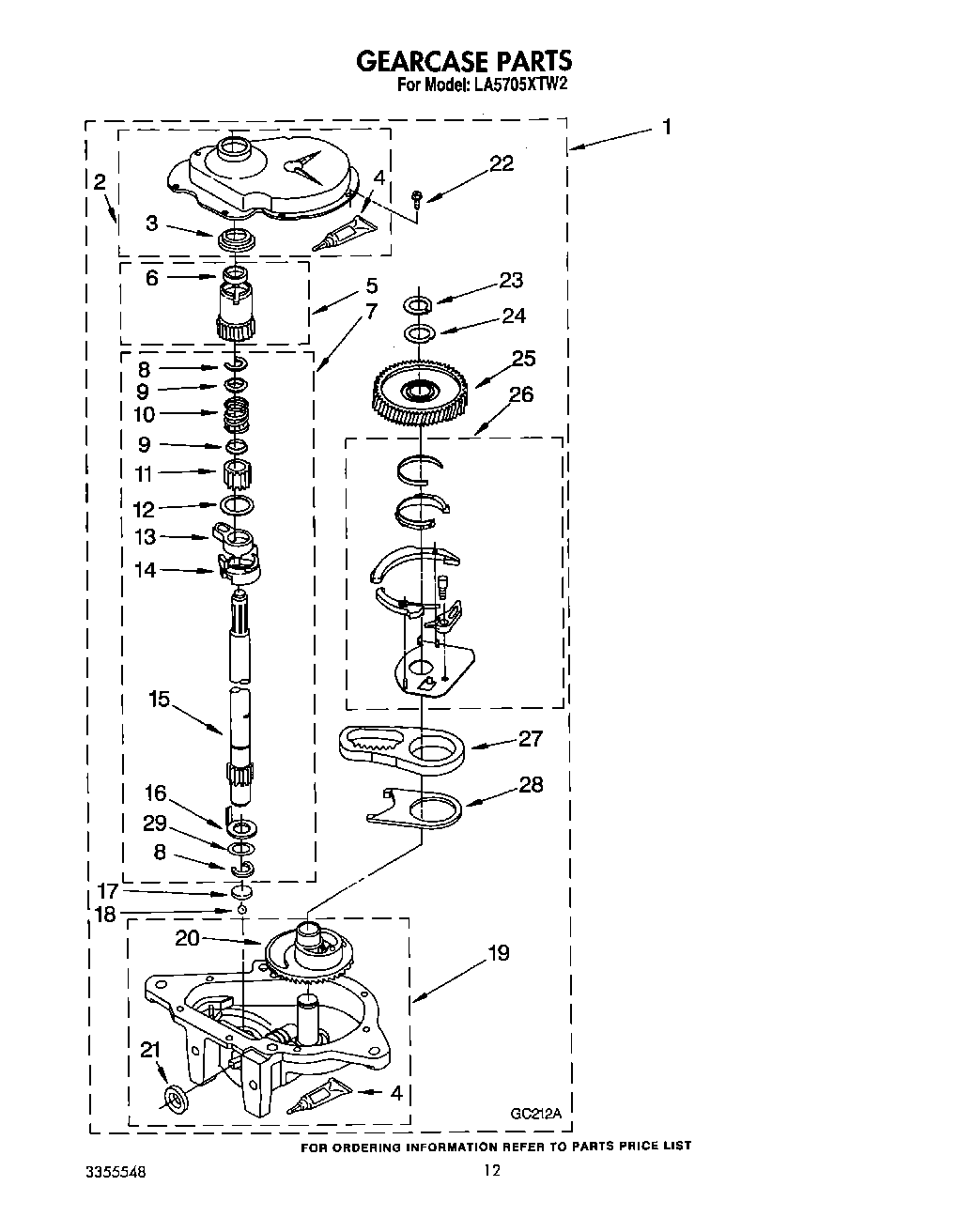
LA5705XTN2 11 – GEARCASE