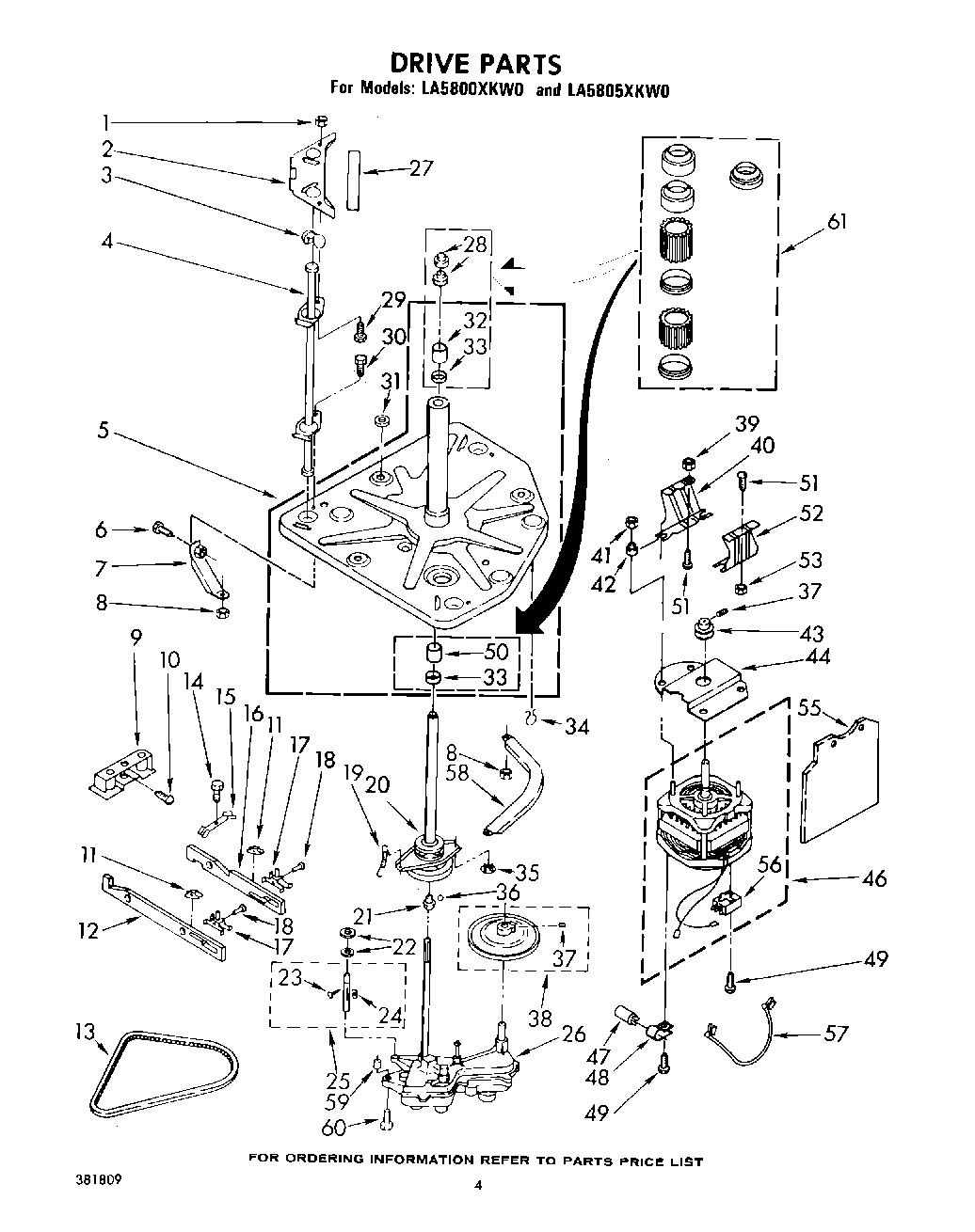
LA5800XKW0 03 – DRIVE