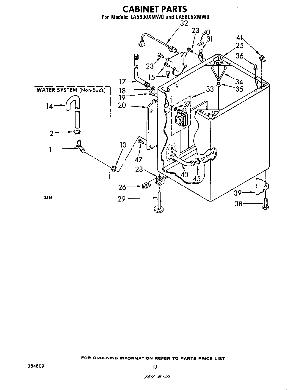
LA5800XMW0 08 – CABINET