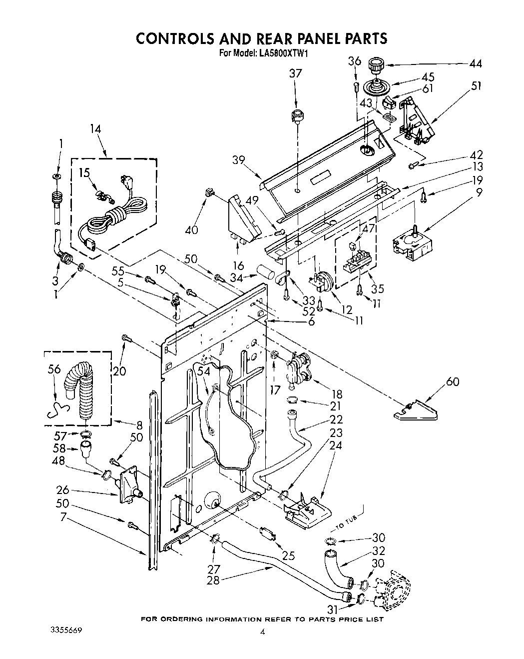
LA5800XTF1 03 – CONTROLS AND REAR PANEL