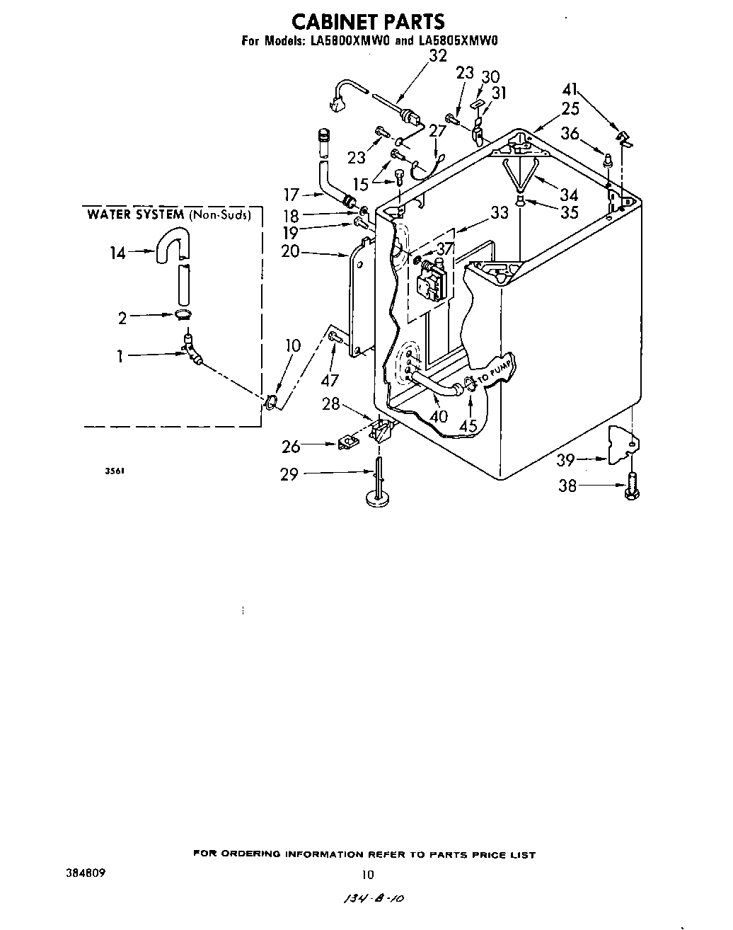
| 1 | Connector, Hose |
| 2 | WP356138 Whirlpool Hose Clamp |
| 10 | WP285655 Whirlpool Hose Clamp |
| 14 | WP96743 Whirlpool Hose |
| 17 | WP89503 Whirlpool Washer Fill Hose |
| 18 | WP16123 Whirlpool Washer |
| 19 | WP3351614 Whirlpool Screw |
| 20 | Panel, Rear (Suds) |
| 20 | Panel, Rear |
| 23 | SCREW |
| 25 | Cabinet |
| 25 | Cabinet (Almond) |
| 25 | Cabinet (Golden Harvest) |
| 25 | Cabinet (Toast) |
| 25 | Cabinet (Platinum) |
| 26 | WP359364 Whirlpool Clip |
| 27 | WPL 364089 |
| 28 | Link, Leveling |
| 29 | WP358594 Whirlpool Leveling Feet |
| 30 | 18849 Whirlpool Pad |
| 31 | Hinge, R.H. |
| 31 | Hinge, L.H. |
| 32 | Cord, Power (60 Hz.) |
| 33 | Valve, Mixing (358277) (Alt.) (358971) (Alt.) (Serviced Only As Complete Assemblies) |
| 33 | Valve, Mixing (Alt.) (Serviced Only As Complete Valves) |
| 33 | Valve, Mixing (Alt.) |
| 34 | Spring, Snubber |
| 35 | Pad, Snubber |
| 36 | Locator, Top |
| 37 | WP96160 Whirlpool Washer Inlet Valve Screen |
| 38 | WP367594 Whirlpool Leveling Feet |
| 39 | Plate, Gusset |
| 40 | Hose, Pump Discharge |
| 41 | WP18776 Whirlpool Lock |
| 45 | Clamp, Hose (Alternate) |