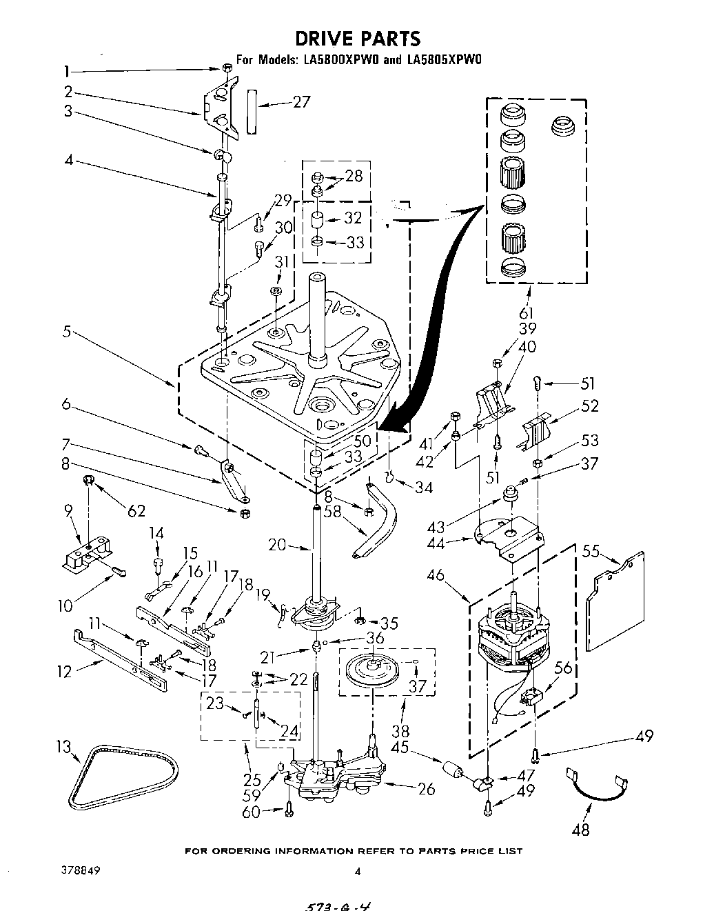
| 1 | 90984 Whirlpool Nut |
| 2 | Cover, Gusset (L.R.) |
| 2 | Cover, Gusset (L.F.) |
| 3 | Ball, Suspension (6) |
| 4 | Rod, Suspension (3) |
| 5 | Baseplate & Centerpost |
| 6 | WP3400516 Whirlpool Screw |
| 7 | Brace, Baseplate |
| 8 | Nut, 5/16-24 |
| 9 | Magnet |
| 10 | Screw, Taper End |
| 11 | Guide, Cam Bar |
| 12 | Cam, Bar Spin |
| 13 | WP95405 Whirlpool Belt |
| 14 | Screw, 1/4-28 x 1/2 |
| 15 | Spring, Brake |
| 16 | Cam, Agitator & Pump |
| 17 | Plunger |
| 18 | Rivet |
| 19 | Spring, Brake Yoke |
| 20 | Basket Drive & Brake (For Further Breakdown Refer To Page 11) |
| 21 | Support, Spin Tube |
| 22 | WP120393 Whirlpool Washer Assembly |
| 23 | Pin, Gear Fork Shaft |
| 24 | Roller, Gear Fork Shaft |
| 25 | Shaft, Basket Clutch |
| 26 | Gearcase (For Further Breakdown Refer To Page 10) |
| 27 | Pad, Gusset Cover (4) |
| 28 | WP8577376 Whirlpool Seal |
| 29 | Bolt, Snubber (1) |
| 29 | Bolt, 5/16 x 5/8 (2) |
| 29 | Bolt, 5/16 x 1 (3) |
| 30 | Bolt, 5/16-24 |
| 31 | Gasket, Tub (7) |
| 32 | WP8546455 Whirlpool Bearing |
| 33 | W11095997 Whirlpool Seal |
| 34 | 16515 Whirlpool Clip |
| 35 | Retainer, Brake Yoke |
| 36 | Ball |
| 37 | Setscrew, 5/16-18 x 1/2 |
| 38 | Pulley, Main Drive |
| 39 | WP358160 Whirlpool Nut |
| 40 | Bracket, Motor Mounting |
| 41 | Nut (4) |
| 42 | Grommet, Motor Bracket (4) |
| 43 | Pulley, Motor |
| 44 | Shield, Motor (Upper) |
| 45 | CAPACITOR |
| 46 | Motor, 60 Hz. (Alt.) (G |
| 46 | Motor (Emerson) 60 Hz. |
| 46 | WPL 660604 |
| 47 | 357030 Whirlpool Clamp |
| 48 | WPL 370950 |
| 49 | WP3390631 Whirlpool Screw |
| 50 | WPL 354195 |
| 51 | WPL 98537 |
| 52 | WPL 93549 |
| 53 | WPL 95721 |
| 55 | WPL 359719 |
| 56 | WPL 362738 |
| 56 | WPL 359642 |
| 58 | WPL 351500 |
| 58 | WPL 351499 |
| 59 | WPL 16062 |
| 60 | WPL 90877 |
| 61 | WPL 285134 |
| 62 | WP385728 Whirlpool Bushing |