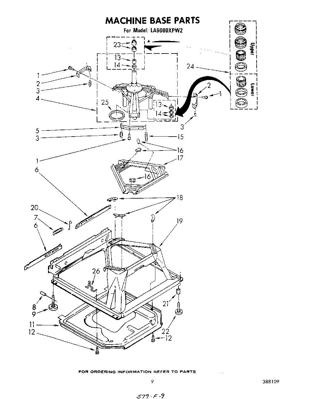
LA6000XPW2 07 – MACHINE BASE