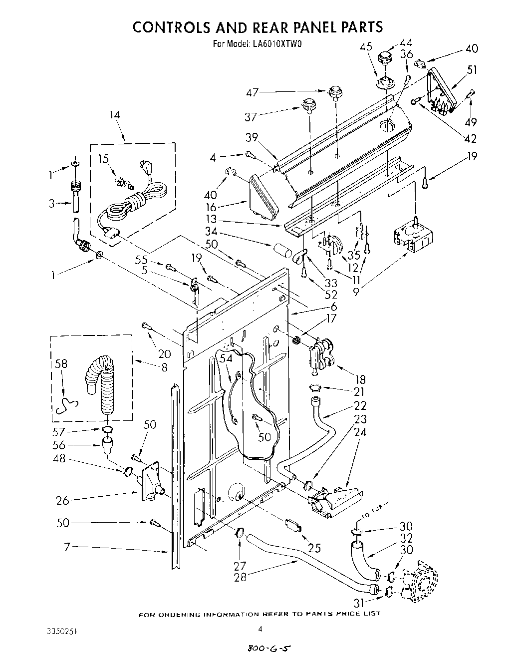
LA6010XTN0 03 – CONTROLS AND REAR PANEL