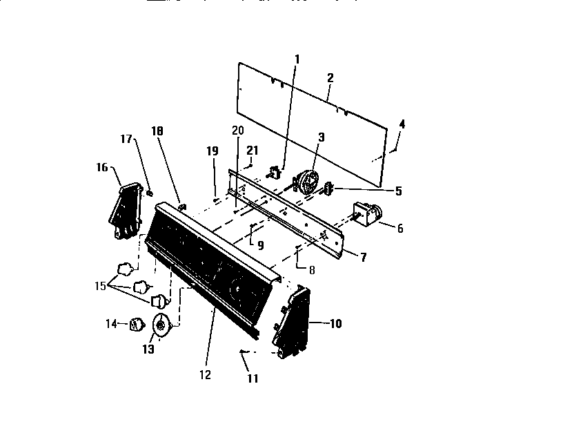
LA625EXF3 02 – CONSOLE & CONTROLSadmin2025-04-26T09:16:29+00:00LA625EXF3 02 – CONSOLE & CONTROLS ProductsPositionProduct1WCI Q6139232WCI Q6167413WCI Q6189214WCI Q4058025WCI Q6177246WCI Q6325817WCI Q6167118SCREW (4)10WCI Q61673211WCI Q50453312WCI Q61694113WCI Q62122114WCI Q62121215KNOB TIMER16WCI Q61673117SPEEDNUT (8)18WCI Q50480119SCREW (2)21SCREW (4)