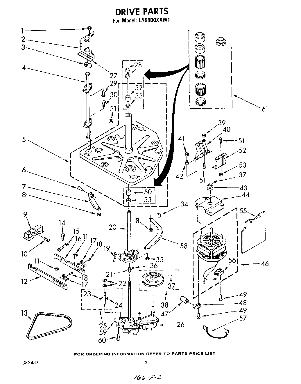
LA6800XKW1 02 – DRIVE