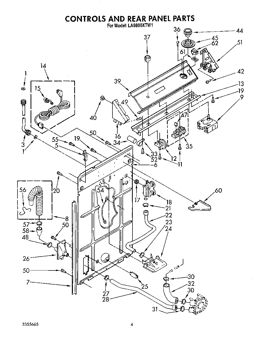
LA6800XTM1 03 – CONTROLS AND REAR PANEL