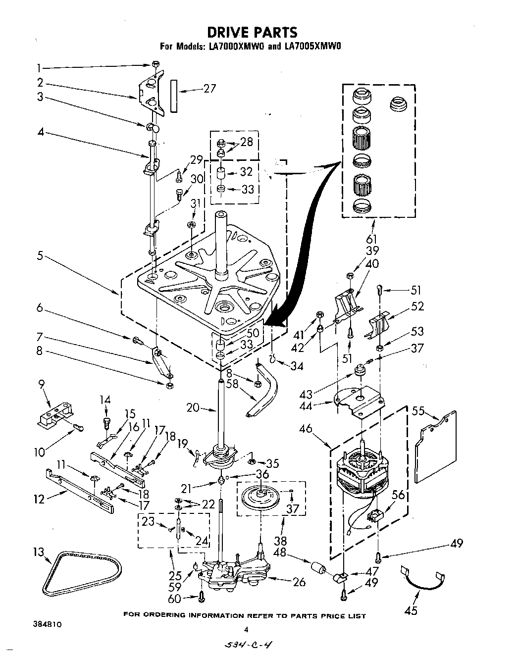
LA7005XMW0 03 – DRIVE