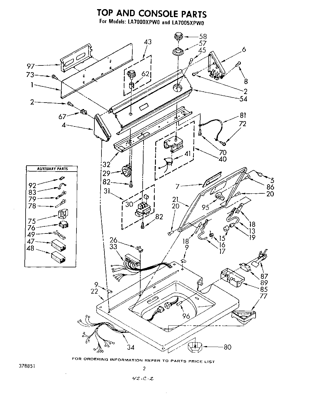
LA7005XPW0 02 – TOP AND CONSOLEadmin2025-04-26T12:40:53+00:00LA7005XPW0 02 – TOP AND CONSOLE
Products
| Position | Product |
|---|
| 1 | Panel, Rear |
| 2 | WPL 355326 |
| 4 | Cap, End (L.H.) |
| 5 | WP9724509 Whirlpool Bumper |
| 6 | WPL 63795 |
| 7 | Handle, Lid (Platinum) |
| 7 | Handle, Lid (Toast) |
| 7 | Handle, Lid (Golden Harvest) |
| 7 | Handle, Lid (Almond) |
| 7 | Handle, Lid (White) |
| 8 | WPL 64211 |
| 9 | Nut, Push-In (2) |
| 13 | WP91770 Whirlpool Hinge |
| 15 | Bumper, Lid Hinge |
| 16 | Spring, Hinge |
| 17 | Hinge, L.H. |
| 18 | WP21097 Whirlpool Pad |
| 19 | WP21258 Whirlpool Washer Lid Hinge Bearing |
| 20 | SCREW |
| 21 | Lid (Toast) |
| 21 | Lid (Almond) |
| 21 | Lid (Golden Harvest) |
| 21 | Lid (Platinum) |
| 21 | Lid (White) |
| 22 | Top (White) |
| 22 | Top (Almond) |
| 22 | Top (Toast) |
| 22 | Top (Platinum) |
| 22 | Top (Golden Harvest) |
| 26 | Stop, Push-In Top |
| 29 | Switch, Water Level |
| 30 | Pushbutton (4) |
| 31 | Switch, Water Temperature |
| 32 | Bracket, Control |
| 33 | Harness, Console (Suds) |
| 33 | Harness, Console |
| 34 | Harness, Cabinet (Suds) |
| 34 | Harness, Cabinet |
| 40 | Motor, Timer |
| 40 | WPL 386884 |
| 40 | Timer, 60 Hz. C.C.A. (Alt.) |
| 40 | Timer, 60 Hz. Mallory (Alt.) |
| 40 | Timer, 60 Hz. |
| 41 | Motor, Timer |
| 43 | Knob Assembly, Water Level |
| 45 | WP356418 Whirlpool Screw |
| 47 | W10876590 Whirlpool Connector |
| 48 | Timer, Block Disconnect (White) |
| 49 | Terminal, Female |
| 54 | WPL 64113 |
| 54 | WPL 64114 |
| 57 | Dial, Timer |
| 58 | Knob, Timer |
| 62 | WP688805 Whirlpool Spring Clip |
| 67 | WP689559 Whirlpool Nut |
| 70 | WP3351614 Whirlpool Screw |
| 72 | SCREW |
| 73 | W11693756 Whirlpool Screw Assembly |
| 75 | Cap, Terminal (Console Harness) |
| 76 | Plug, Terminal (Cabinet Harness) |
| 77 | WPL 352821 |
| 78 | WP596797 Whirlpool Terminal |
| 79 | WP94614 Whirlpool Terminal |
| 80 | WPL 352827 |
| 81 | 3184020 Whirlpool Oven Wire |
| 82 | WP90767 Whirlpool Screw |
| 83 | 8528351 Whirlpool Clip |
| 85 | WP359231 Whirlpool Shield |
| 86 | Screw & Washer |
| 87 | Switch Actuator Assembly |
| 89 | W10820036 Whirlpool Door Switch Kit |
| 92 | WP90016 Whirlpool Clip |
| 95 | Strike, Lid Switch |
| 96 | Screw & Washer, Lid Switch (2) |
| 97 | Rack, Literature |