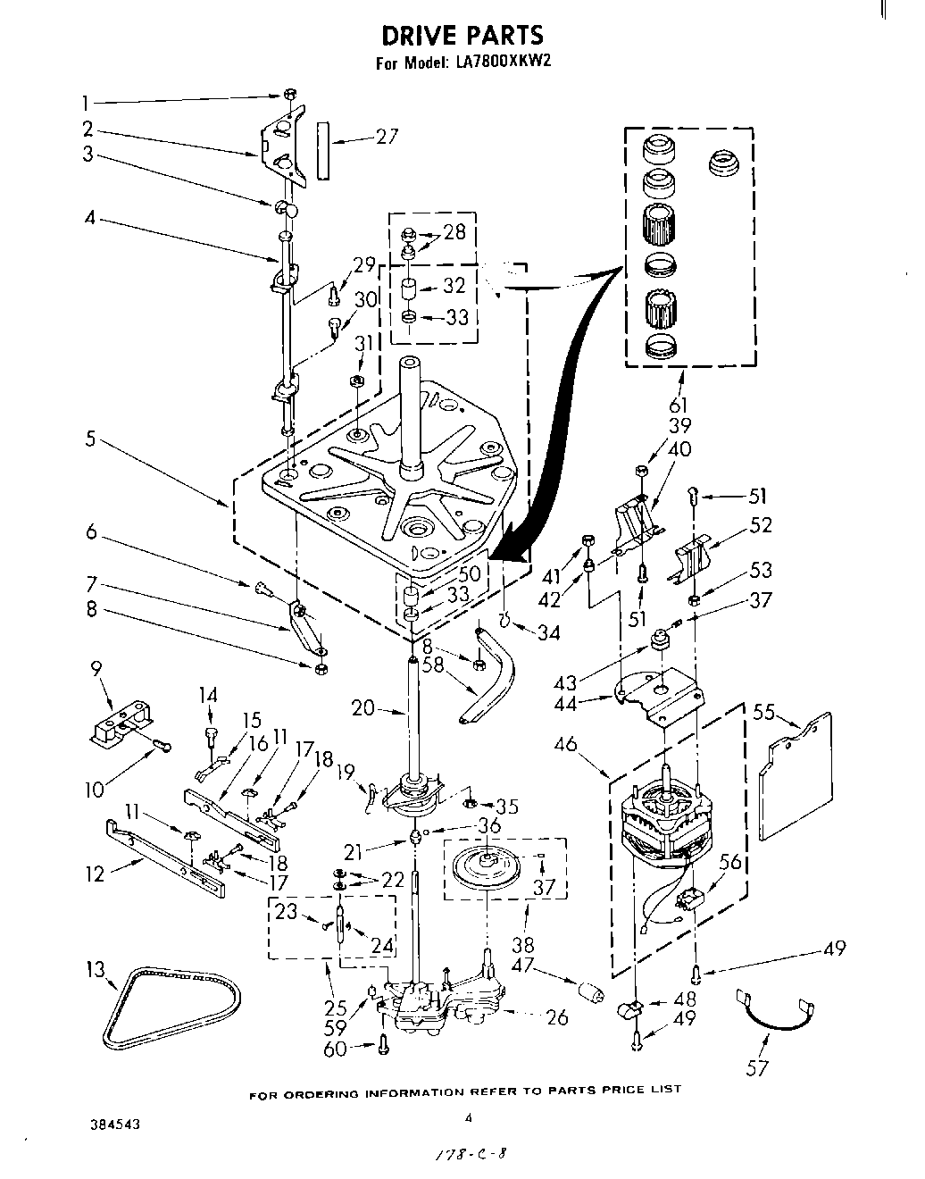
LA7800XKW2 03 – DRIVE