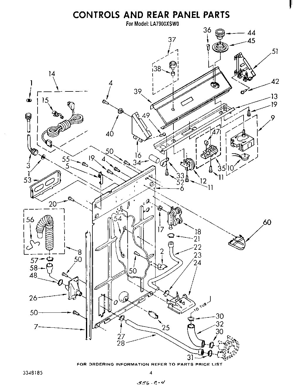
LA7900XSW0 03 – CONTROLS AND REAR PANEL