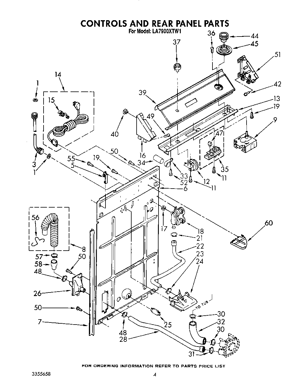
LA7900XTW1 03 – CONTROLS AND REAR PANEL