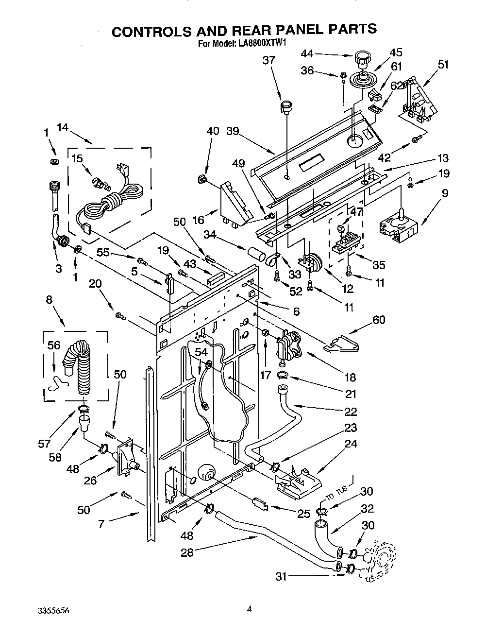
LA8800XTN1 03 – CONTROLS AND REAR PANEL