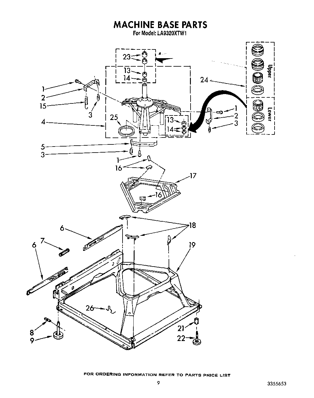
LA9320XTW1 08 – MACHINE BASE