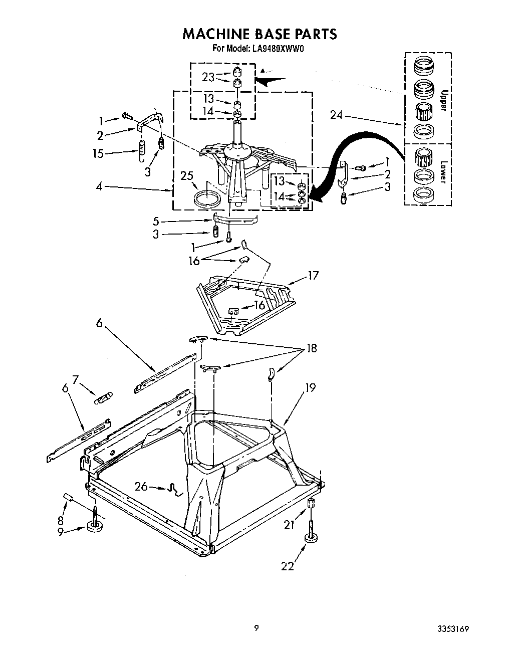
LA9480XWG0 07 – MACHINE BASE