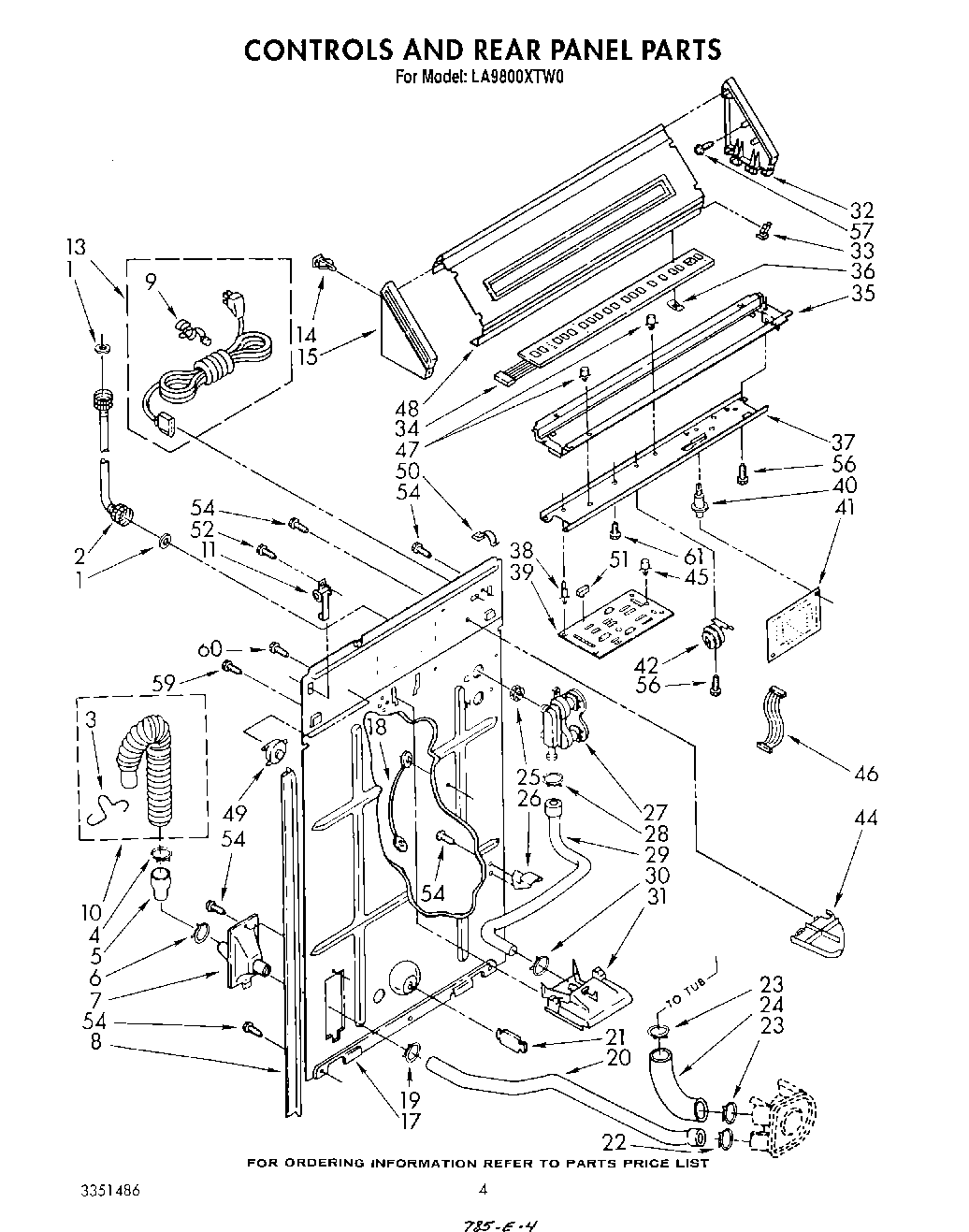
LA9800XTW0 03 – CONTROLS AND REAR PANEL