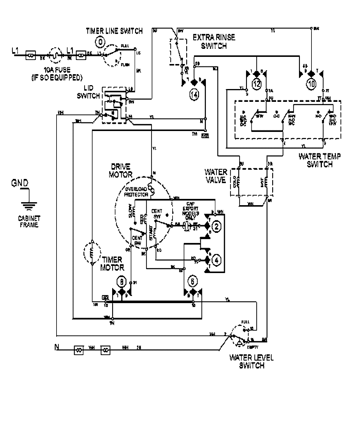
LAT2600AAE 09 – WIRING INFORMATIONadmin2025-04-26T09:15:40+00:00LAT2600AAE 09 – WIRING INFORMATION ProductsPositionProductNIMAY 15002978