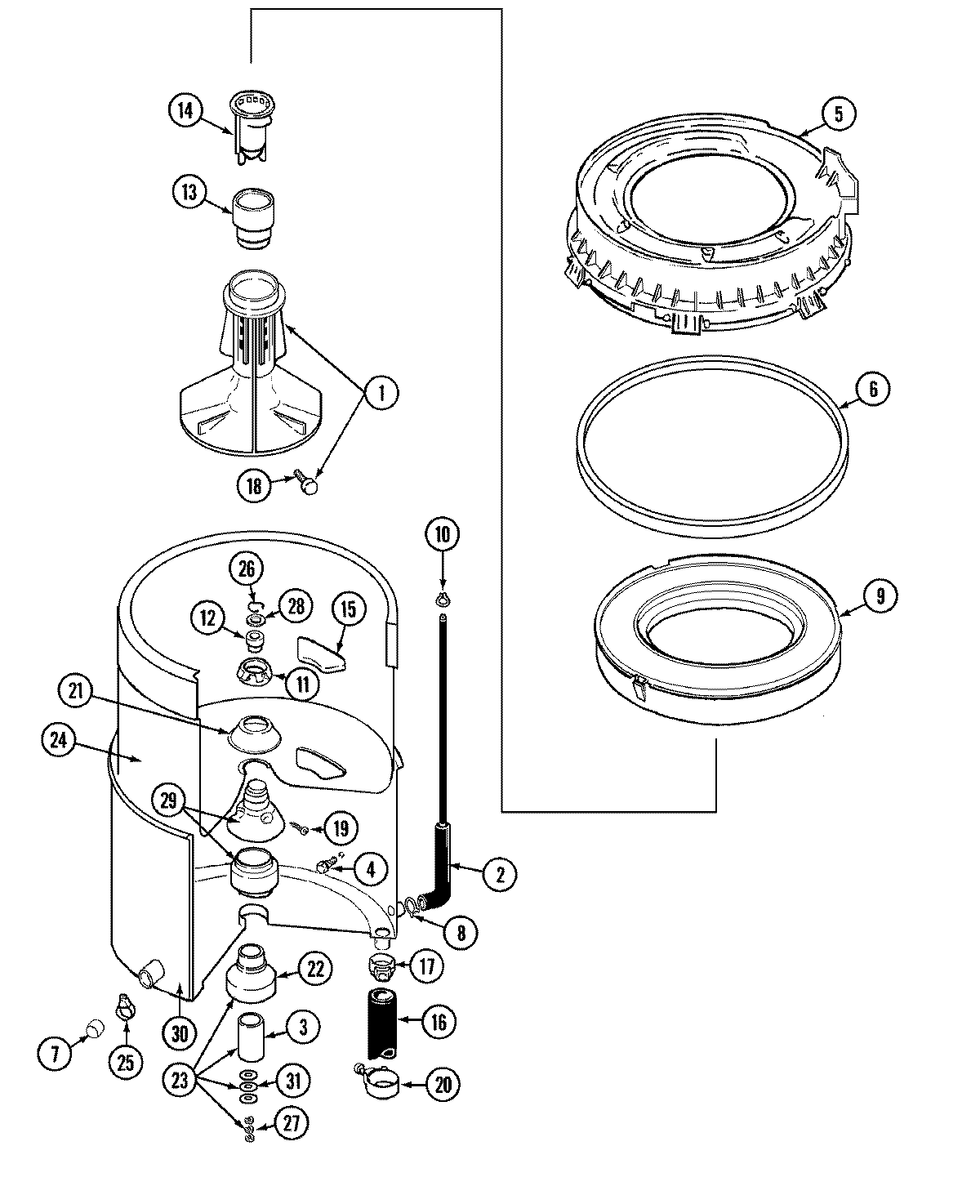
LAT8204AAM 07 – TUB