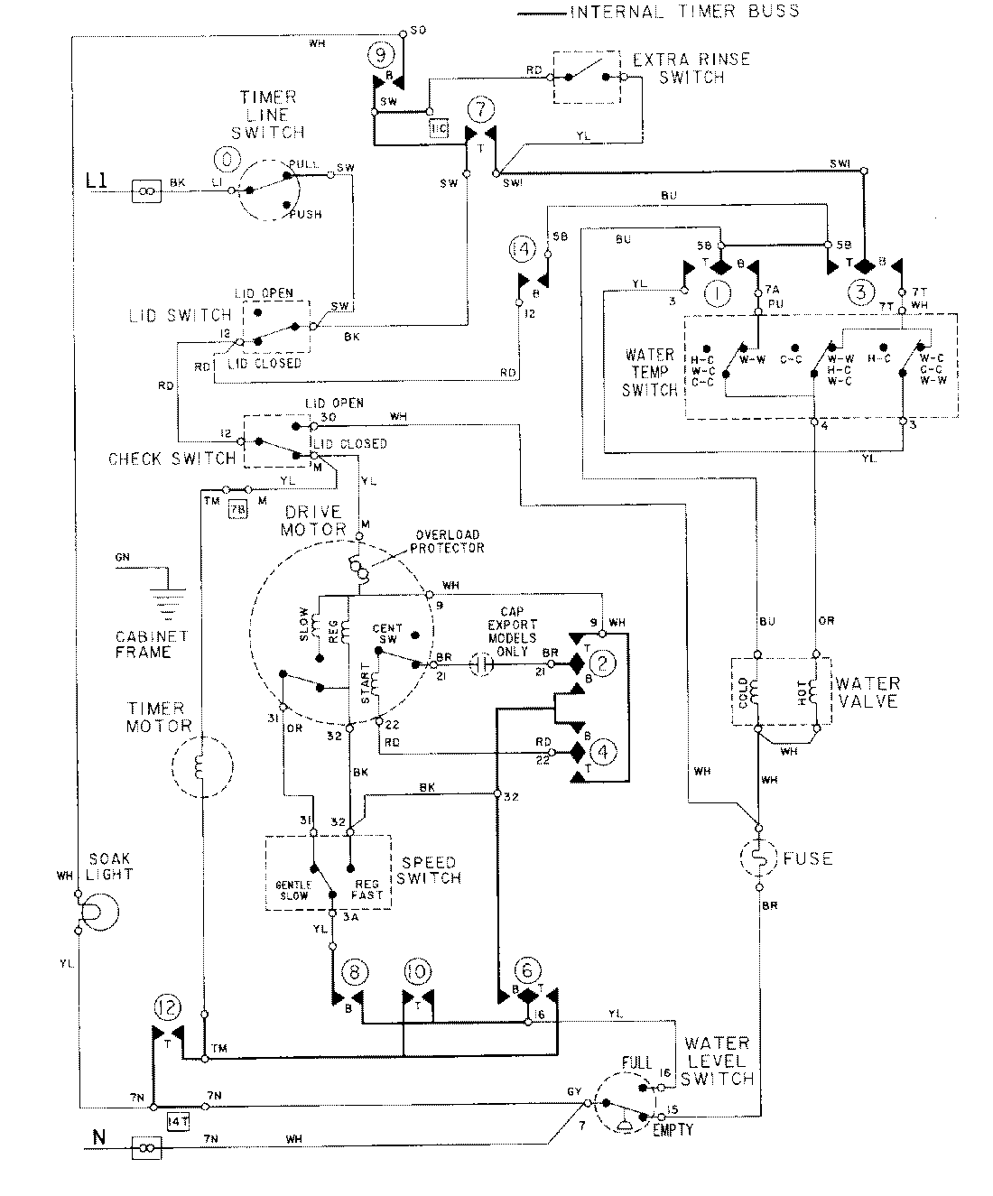
LAT8824AAL 08 – WIRING INFORMATIONadmin2025-04-26T09:18:41+00:00LAT8824AAL 08 – WIRING INFORMATION ProductsPositionProductNIMAY 15001284