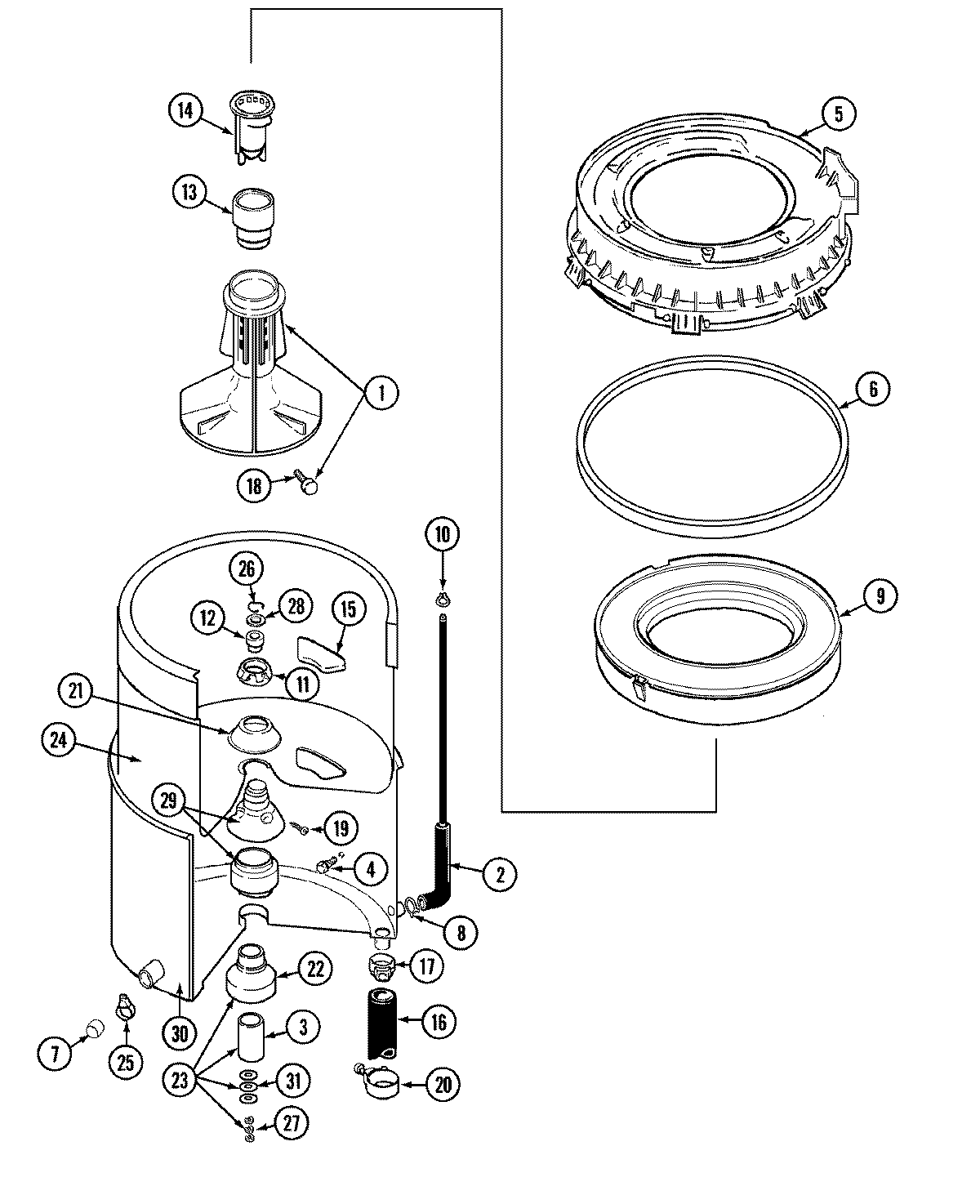
LAT9604ABE 07 – TUB